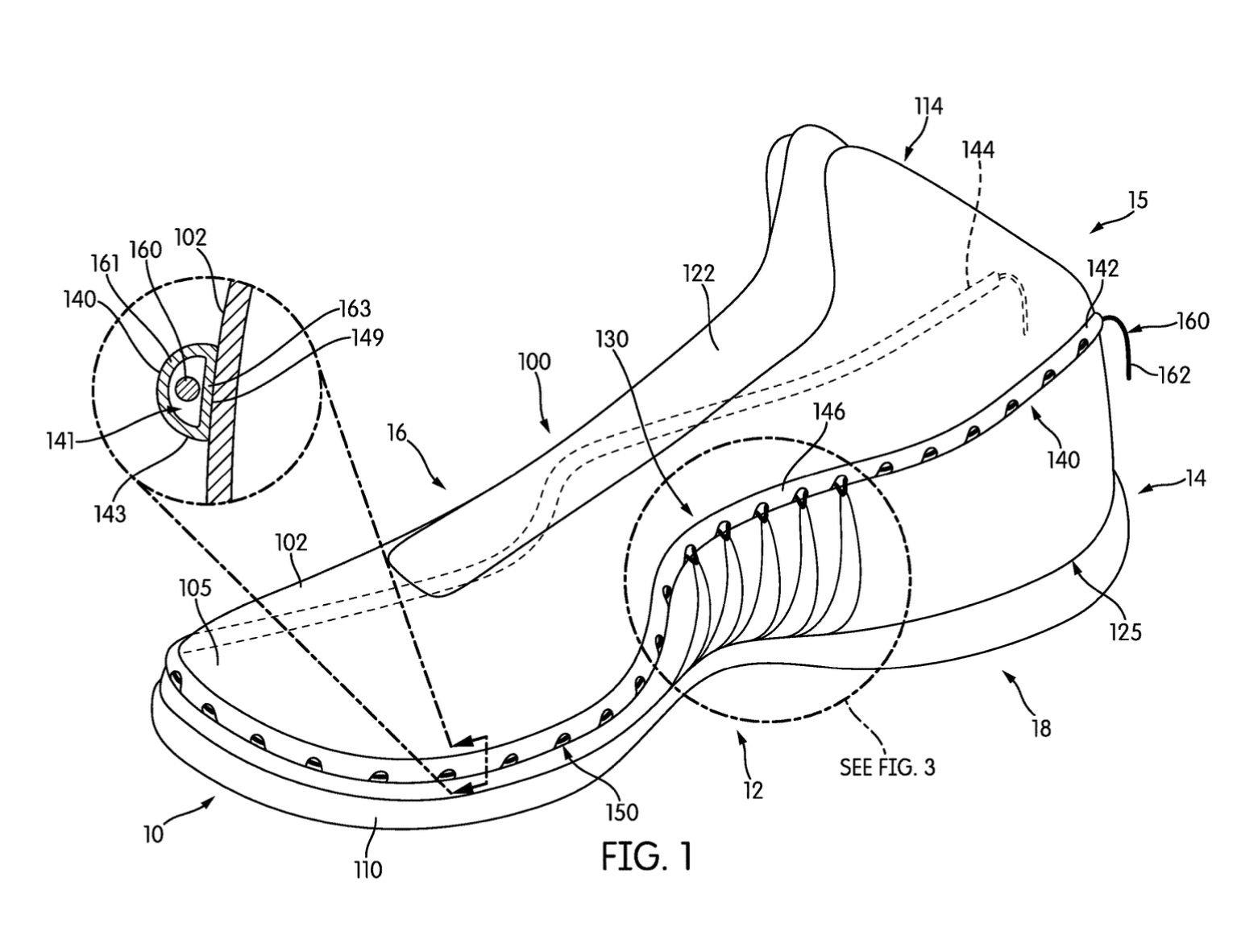
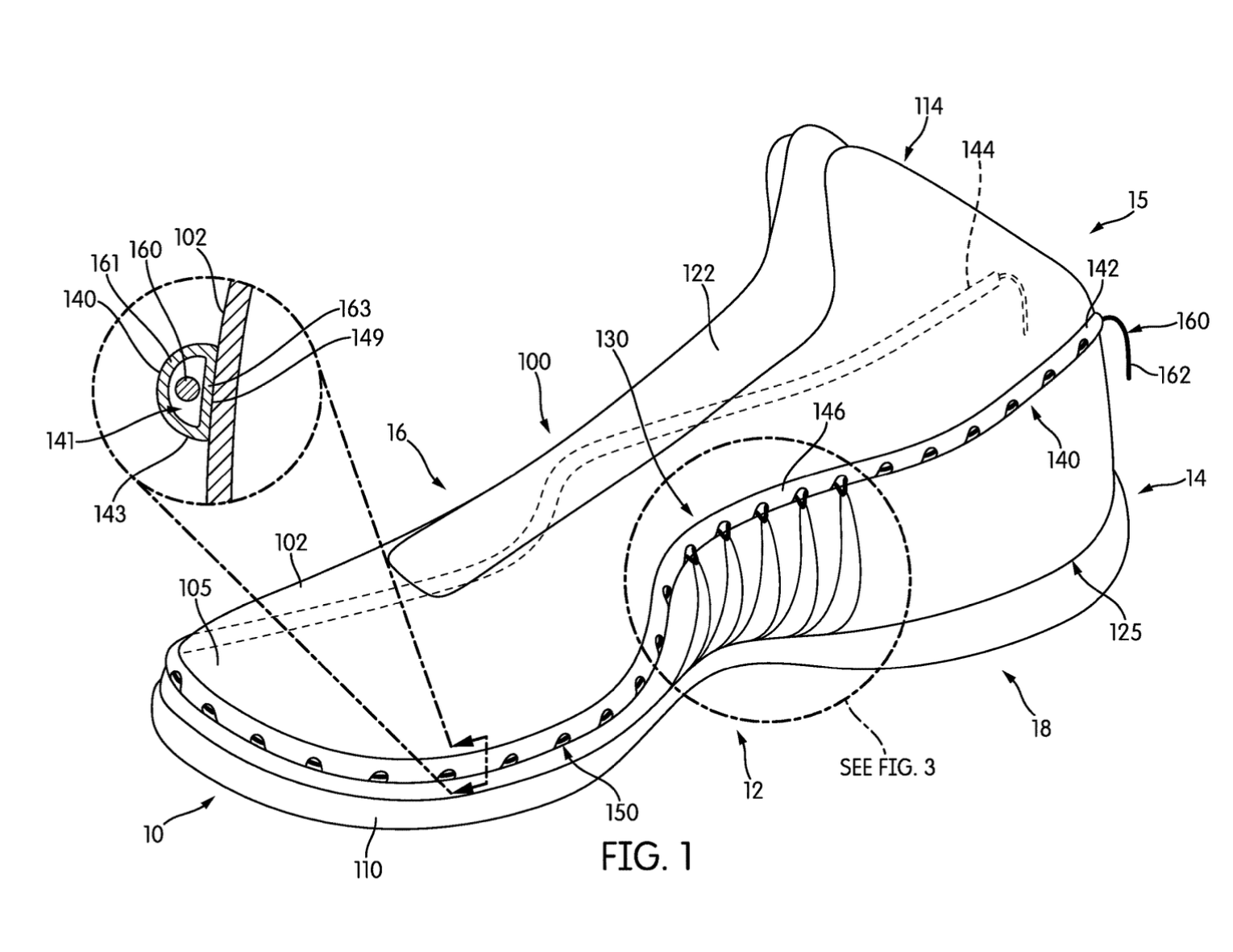
Nike patents 3D printing tech for custom-fit shoes
Nike has secured a new patent for a 3D printing system designed to create shoes tailored precisely to a wearer’s foot shape and pressure points. The method uses digital foot scans to guide the additive manufacturing process, enabling hyper-personalized footwear without traditional molds or mass production constraints.

Why it matters: This move highlights Nike’s push toward on-demand, data-driven design, offering a glimpse at a future where fit, comfort, and performance are no longer one-size-fits-all but built uniquely for every step.

The robots are coming
China’s aggressive push into robotics is beginning to transform fashion and beauty manufacturing, with automation increasingly used for tasks like fabric handling, product assembly, and warehouse logistics. Backed by government investment and a growing domestic robotics sector, the shift promises faster turnaround times, greater precision, and reduced labour dependency.
Why it matters: Beyond a slight sense of disquiet, this shift raises critical questions about labour and the fabric of society. As China sets the pace, the industry must grapple with how to balance innovation with its human and cultural foundations. What does “ethical production” really mean in an automated age?

Launchmetrics unveils AI tools to decode brand perception in real time
Launchmetrics has introduced a suite of AI-powered tools (paywall) designed to help fashion and beauty brands analyze how they’re perceived across media, influencers, and consumer touchpoints. The new capabilities go beyond traditional metrics by using machine learning to interpret sentiment, narrative shifts, and brand alignment at scale.
Why it matters: As brand equity becomes increasingly shaped by fast-moving digital conversations, these tools offer marketers a way to track (and respond to) reputation in real time, with data-driven clarity.


